インタビュー
発掘,史上初の純国産ビデオゲーム! HITAC 10で開発され,1973年にお披露目されたゲームと,それが後年に与えた影響とは
「電気展」の終焉と,その後裔
4Gamer:
「電子パチンコ」「電子ボーリング」以降も,HITAC 10を用いた同様の取り組みはあったのでしょうか?
佐藤氏:
翌1974年の「電気展」では,「泳げ!カメくん」というゲームを作っていますね。水槽の下に8×8個の電磁石を付けて,ボタンのオン/オフによって電磁石の極性を反転させると,磁石を張り付けたカメが水面を移動するんです。それをスタートからゴールまで誘導するというものですね。ちなみにこれを作った人も,卒業後は日立に行ったんですよ。
![]() |
佐藤氏:
この年には大学祭参加を狙ってうちの研究室を希望してきた学生が多く,他にも「作曲システム」や「音声合成システム」を開発した学生たちがいました。ただ,先ほど平畠さんも「開発に注力しすぎて,卒業研究にずいぶん悩んだ」とおっしゃっていましたが,この年も学生たちは徹夜が重なって,欠課が多くなってしまったんですよ。やっている本人は非常に楽しんでいるわけですが,授業に支障が出てしまった。「何をやっとるんだ」というクレームが入り,「電気展」はこれを最後に中止となりました。
4Gamer:
それはなんとも残念な話ですね。
佐藤氏:
「ああいうことをしたくてこの大学に入った」と言う学生が,電子工学科には多くなっていたので,なおさらですね。
平畠氏:
岩手大学の裏に,盛岡一高(岩手県立盛岡第一高等学校)という非常に歴史の古い高校があるんです。そこの生徒たちが,大学祭を見たことで興味を持って入学してくることも多かったんですよ。
佐藤氏:
「自分たちも4年生になったらあれができるんだ」と夢見て入って来たんですが,それがダメになってしまった。ただその後,電子回路研究会というのが電子工学科の中に出来て,放課後のクラブ活動として,こういう開発をやっていく形ができました。新1年生が毎年5人くらい,そこに入っていましたね。
4Gamer:
「電気展」の理念はそこに引き継がれていったのですね。
佐藤氏:
はい。まあ今はもう,状況がまったく変わりましたけどね。最近はむしろ先生方が「もっとこういうことをやりなさい」とけしかけているくらいです(笑)。
平畠氏:
ちょうどこのころからLSIのCPUが市場に出てきて,こういったハードとソフトを交えた開発が普及してくるんですよね。1974年に8080や6800(※13)が出てきていますし。
※13 マイクロプロセッサ時代の立役者となった,最初期の8ビットCPU。前者がIntel製(i8080),後者がMotorola製(MC6800)。
4Gamer:
奇しくも最後の「電気展」と同じ年ですね。
佐藤氏:
そういえば,先ほどお話した農林省のプロジェクト。あれが非常に高く評価されて,6800が出たばかりのころに,評価基板(※14)を買っていただけたんですよ。当時32万円していましたね。それを入手して最初にMIKBUG(※15)のROMを抜いて,その中身を解析したんです(笑)。
※14 モトローラ最初の6800評価キットであるMEK6800DI(1975年)を指す。佐藤氏が入手したものは完成基板で,試作段階の6800 CPUが載っていたそうなので,本当に最初期のものなのだろう。
※15 簡易デバッガ的に扱うことのできる6800標準のモニタープログラム。当時は6800を入手したら,大抵は最初にこれを使うことになる,定番中の定番だった。
平畠氏:
評価基板は僕も買いましたが,もう少し後なのかな。そのころは6800が5万円くらいでしたよ(※16)。それでも当時,テレビの量産用ICなどを扱っていた経理部門の人に「こんなに高価なICは聞いたことがない」って言われましたね。
※16 8080に価格面で対抗するため,6800は発売直後から急激な値下げを敢行。発売から約1年後には,およそ当初の1/5まで価格が低下している。
![]() |
![]() |
そしてインベーダーがやってきた
4Gamer:
「電子パチンコ」「電子ボーリング」から何年か経って,いわゆる“ブロックくずし”や「スペースインベーダー」などが大ブームになるわけですが,商用ビデオゲームの流行をどのようにご覧になりましたか。
佐藤氏:
岩手大学の周辺では,すぐ後ろにある盛岡食堂っていうところが,そういったゲームを真っ先に仕入れていましたね。テーブル型のものが4〜5台。初めて見た時は,「こんなものが商売になるんだ」と驚きました。
4Gamer:
自分でも作って作れないことはない,という感触でしたか?
佐藤氏:
はい。ですが実際に遊んでみると,「ゲームは完成させるだけじゃダメで,夢中にさせる何かがないと商品にならない」ということに気付かされました。後に大学だよりで「コンピュータゲーム作りのすすめ」を書いたのですが,その中でもそういうことを述べましたね。30代のころです。
4Gamer:
佐藤さんはマイクロコンピュータの時代になって以降,執筆活動も精力的になさっていますね。
![]() |
「トランジスタ技術」(CQ出版)にいろいろと書きました。最初に載ったのはP-ROMライターの製作記事でした(※17)。同誌に書いた記事をまとめた「パソコン インターフェース考」という書籍も,後に出しています。
※17 トランジスタ技術1979年9月号「2708タイプ専用P-ROMライターの製作」。佐藤氏がこれ用に作った機械語モニターのソフトは,現在のバイナリエディタのような操作性をいち早く実現したもので,CRTの全画面を分割して(今で言えばウインドウ画面的に)用いるというのは,当時としては先進的だった。後にソフトマート社より「マルチスクリーン・モニター」という,FM-7/8用の改良版が発売されている。
佐藤氏:
「自分でも作れないことはない」という話に戻りますが,そんな風に思って眺めていたものは,他にもいろいろありました。なかでも衝撃的だったのは,Microsoft BASICです。当時私はForth言語(※18)に入れ込んでいて,自分でも6800用のForth言語を作ったりしていたぐらいで,次はこれの時代が来るだろうと思っていたんですよ。しかしやがてマイクロソフトBASICの普及が急速に進み,「なぜこのようなものが売れるのか」と考えさせられました。
※18 逆ポーランド記法(“1 2 +”のように,被演算子の後に演算子を記述する数式記法)を特色とするプログラム言語。BASICのようなインタプリタ型であり,高速でメモリ効率も良いことから一時期注目を集めた。現在も根強い愛好者がいる。
日立でのビデオゲーム開発
平畠氏:
私は卒業後,仕事でものすごく多忙になったので,「スペースインベーダー」あたりのビデオゲームには一切触れていません。そもそもゲームにまったく興味が湧かなくて,「あんなもの」くらいに思っていました。ただ,それより少し前には,ゲーム機の開発にも取り組んでいたんですよ。
4Gamer:
そのあたりを,もう少し具体的に教えていただけますか?
平畠氏:
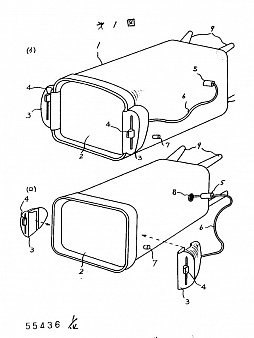
1974年に日立に入社し,最初の1年はテレビの開発に携わったのですが,翌年にマイクロプロセッサの研究をさせてもらえたんです。そのときに,まず小さなテレビにGIのチップを組み込んだ,2人用のゲーム機を試作しました。製品展開には至らなかったんですが,「ゲーム付きテレビ受信機」という実用新案(※19)になっています。
※19 公開番号:実全昭53-055436(昭和51年10月13日出願)
![]() |
![]() |
平畠氏:
その後,6800を使ったテープレコーダーと一体型のビデオゲーム機を,技術展用に開発したりもしました。本体の真ん中にテープレコーダーが組み込まれていて,そこからカンサスシティスタンダード(※20)でソフトを読み出すものです。手前にはジョイスティックを左右につけて,2人用のゲームがプレイ可能な構成になっていました。表示装置にはテレビを用いています。当時のマイクロコンピュータは,半導体開発部署がその応用をアピールしていたので,家電部門からの装置展示はこれが初めてだったはずです。
※20 1976年初頭に米国で制定された,データレコーダー初の統一規格。
![]() |
4Gamer:
プログラマブルなゲーム機としては,かなり早期のものになりますね。Fairchildから世界初のROMカセット式ビデオゲーム機(Video Entertainment System)が前年の11月に発売されたばかりでした。
平畠氏:
Fairchildのゲーム機は,わずかながら記憶にありますね。もしかすると会社で購入していたかもしれません。技術展に出したゲーム機は,写真では白黒ですが,実際の画面はカラーで,黄色い背景の詰碁盤面が表示されています。当時の部長が囲碁を趣味にしていたので,そのアピール効果は抜群でした。若い開発者にはピンボールゲームが好評だった覚えがあります。
4Gamer:
同時期の日立には,他にもビデオゲームの試作的な取り組みがいくつかありました。「MIDAS-8」(※21)や,米国特許に残っているROM/RAMカセット式のビデオゲーム機(※22)などですが,これらには関わっておられましたか?
※21 1976年10月のエレクトロニクスショーで,ブラックジャックとダービーレースのデモ(※文字資料による。ゲーム名なのか,ゲーム内容を示した記述なのかは不明)が行われた。
※22 Programmable Television Game and Training System with Adaptable Operator Control”, U.S. Patent No.4156928, May 28 1979
平畠氏:
「MIDAS-8」は,開発ツールとしての記憶はありますが,ビデオゲームのデモについては分かりません。米国特許のほうは,サンフランシスコにあった中央研究所分室のメンバーが執筆したものですね。
「日本初のビデオゲーム」から「日本初のPC」へ
平畠氏:
ゲーム機自体は製品化されませんでしたが,展示効果は認められて「これを発展させてホームコンピュータにしないか」という話になりました。ちょうどアメリカでホームコンピュータが勃興していた時代だったんですね。さきほどお話したサンフランシスコの中央研究所分室でも当時我々と同じようなことをやっていたので,翌1977年7月にそちらに行って指導を受け,約1か月半かけてホームコンピュータを開発しました。
私は主にソフト開発を担当していて,ハードウェアは現地の業者に作ってもらっています。この業者は高かったのですが,お願いした通りの基板を誤りなく短時間で作って来たので,驚きましたね。ちなみに現地ではランボルギーニ・カウンタックに乗っていましたよ。
4Gamer:
マイコン勃興期の西海岸らしい華やかさを感じますね。そのホームコンピュータは製品化されたのでしょうか?
平畠氏:
いえ。サンフランシスコで開発したものは,8080を使っていたんですよ。当時の所長さんから「これからは絶対8080だから,それで開発しなさい」と言われていたんですが,日本に戻ってきたら「これからは全て6800を使いなさい」(※23)っていう社内号令が出たんですね。部門によってはすぐに切り替えず,しばらく8080系を使い続けたところもあったんですが,私のいた家電部門は,このとき一斉に6800に切り替えたんです。だからハードもソフトも,ほとんど作り直しになりました。そうして出来上がったのがMB-6880という製品です。
※23 日立は1976年8月にモトローラから6800を導入し,自社セカンドソース品としてHMC6800を製造していた。
4Gamer:
MB-6880と言えば,国産PCの第1号として歴史に名を残す,「ベーシックマスター」ではありませんか!(※24) 平畠さんは日本初のコンピュータ・ビデオゲームを生み出したのち,日本初のホビーPC誕生にも寄与しておられたのですね。
※24 日本初のPCが何かという話になると,“パーソナルコンピュータ”の定義で諸説紛糾するが,家庭での使用が想定されているうえ,完成品として発売された(当時は組み立てキット形式での販売が主流だった)PCとしては,間違いなくMB-6880が日本最初である。
平畠氏:
回路図を引いて,MIKBUGを参考にして4K ROMにモニターデバッガを書き,4K BASICと12K BASICにも関与しました。あとMB-6880の開発では,特許も二つ取っているんですよ。1つはディスプレイの表示画面の周辺部を着色するものです(※25)。当時は全画面分のメモリを持っていないPCも少なからずあって,それらは皆この方式を採用していました。権利行使はしませんでしたけどね。もうひとつはカセットテープの再生方式に関するものです(※26)。あまり大きく謳われませんでしたが,MB-6880にはメッセージ機能といって,片トラックで音声を再生し,片トラックでデータを画面再生する機能がありました。音と映像を同期させて,英会話練習,カラオケ,囲碁などができるようにしたんです。
※25 「カラーグラフィックディスプレイ装置」公開番号:昭53-138643(昭和52年5月11日出願)
※26 「磁気テ−プ再生装置」公開番号:特開昭54-80722(昭和52年12月12日出願)
4Gamer:
基礎設計からアプリケーションに至るまで,広範に関わっていらっしゃったのですね。
平畠氏:
MB-6880は1978年5月のマイコンショー(※27)に展示して,9月に製品化しました。同時期に結婚もしたのですが,忙しすぎて結納当日も徹夜していたんですよ。と言うのも,その日がROMの納入日でもあったんです。「これは逸話になるな」って皆で笑ってましたね。
※27 日本電子工業振興協会主催「マイクロコンピュータショウ’78」(1978年5月18〜20日)。この年は第2回。
音楽機能を持った初のBASIC
4Gamer:
HITAC 10での経験は,MB-6880の開発に活かされたのでしょうか。
平畠氏:
少ないメモリとハードウェアでいかに上手くやるかという精神は,ちゃんと大学時代から受け継いで開発しています。また,マシンサイクルを細かく調整しながらプログラムを作った経験は,実際面でもMB-6880の音楽ルーチンを開発するのに役立ちました。例えばBASIC言語で「music "トレミ"」(濁音は非対応)と書くと,ドレミと音が奏でられる機能です。あれは全てプログラムで実現したもので,1個の抵抗ラダーD/Aポートにデータ出力することで演奏していました。時間管理しながら3オクターブ実装するのは大変でしたね。
![]() |
4Gamer:
MB-6880は,BASICに音楽ルーチンを搭載した史上初のPCでもありました。のちに普及するMML(※28)の原型とも言えるものですが,HITAC 10での経験がそこにつながるというのは大変興味深いです。
※28 ミュージック・マクロ・ランゲージ (Music Macro Language) の略。BASIC言語内で音楽を演奏させる機能として1980年代初頭にMicrosoftが標準化した。のちにさまざまな機種で独自の発展を遂げ,1980〜1990年代のゲーム音楽文化で一時代を築く。
平畠氏:
演奏中は音にひずみが生じないようにタイマー割り込みを禁止する必要があり,その点も苦労しました。実は音楽機能を多用すると,若干タイマーがずれるはずなんです。
4Gamer:
そもそもなぜ音楽演奏ルーチンを搭載することになったのでしょうか?
平畠氏:
サンフランシスコで指導を受けて作ったコンピュータに,ビープ音の音程を変えられる機能が確かあって,それが原点だったと記憶しています。音楽ルーチンを作ろうということになったのは,MB-6880の開発陣にクラシック好きの方がいて「製品の特長になるし,これでモーツァルトを演奏したい」と言っていたからですね。実際にモーツァルトの楽曲を演奏させたりもしました。
HITAC 10と「電気展」が与えた影響
平畠氏:
HITAC 10を使っていたころを振り返ってみると,ある程度までは学生の好きにやらせてくれたことが,僕らを伸ばしてくれたと思うんですよ。
佐藤氏:
単に教えることよりも,学生の自主性というか,「やってみたい」という気持ちのサポートを重視していました。問題解決型学習,今で言えばPBL (Problem Based Learning) ですが,岩田先生が着任当初からそうした指導方針だったんです。
平畠氏:
好きになるから伸びたし,ずっとやってこれました。それに「自分で決めて,自分でやる。それが完成するまでは多少無理しても頑張る」という姿勢も,大いに学ばせてもらいましたね。それは会社に入ってからも役に立っています。
佐藤氏:
私は後に一関高専(一関工業高等専門学校)へ移り,PBLに取り組むんですが,「電気展」での経験はそこでもすごく役に立ちました。同校のロボコンに活かされたりしているんですよ。
4Gamer:
一関高専といえばロボコン東北地区大会の上位常連で,全国優勝したりもしています。ある意味それも「電気展」の末裔としての成果なのですね。
岩手大学で岩田教授や佐藤さんが育んだ「学び」のあり方が,後の世代にさまざまな形で影響を与えているというのは大変興味深く,またゲームと教育の接点を改めて考えさせてくれるという意味でも有意義なものだと思います。本日はありがとうございました。
MB-6880の後継機であるMB-6890(ベーシックマスター レベル3)は,国立科学博物館から「日本におけるパソコン普及の礎を築いた」と評価され,重要科学技術史資料に登録されたほどの名機だ。ゲーム業界への影響も大きく,光栄(現・コーエーテクモゲームス)の処女作である「川中島の合戦」,後にタイトーの「ちゃっくんぽっぷ」としてアレンジされた東大マイコンクラブの「Chack'n Chack」,大阪のコンピュータクラブ・NEWON(このクラブ名もMB-6890の命令文に由来)によるPCゲーム開発を支える諸技術などが開発された。
HITAC 10の経験を経て平畠氏がMB-6880を開発し,それがMB-6890へと発展したことを考えると,「電子パチンコ」や「電子ボーリング」は,間接的とは言え,現代に至るまでゲーム業界のあちこちに影響を与えている。まさに,国産ゲームのルーツと言えるものだった。
- この記事のURL:

























